关闭导航

包含标签"小米"的内容

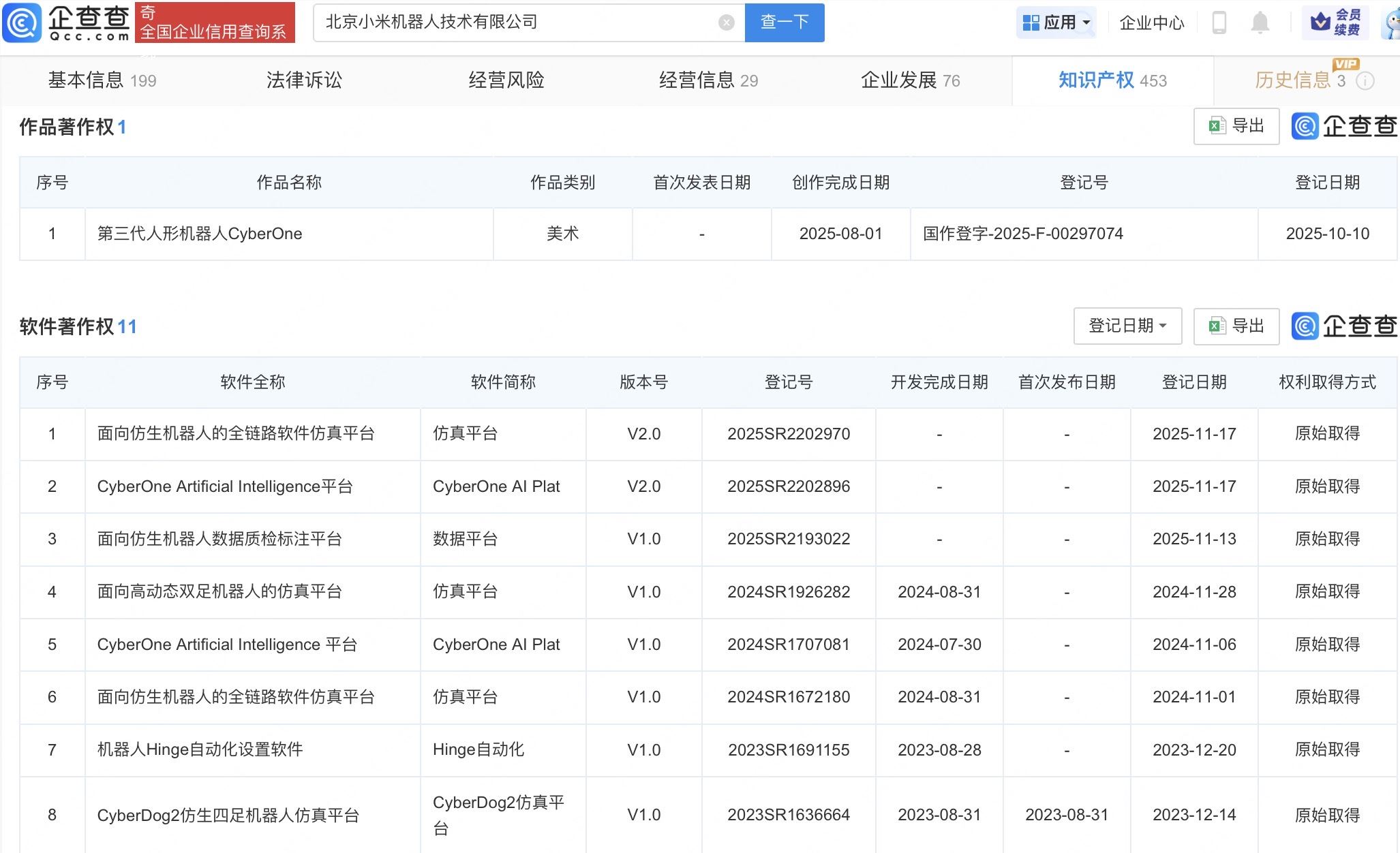
小米人形机器人可在汽车工厂连续工作3小时 已拥有多项相关著作权
AI妹 1 个月前 1 0

据报道,近日,小米公布了人形机器人在汽车工厂自主作业的视频,其已经能够连续工作3个小时。企查查APP显示,去年10月,北京小米机器人技术有限公司登记“第三代人形机器人CyberOne”作品著作权,

小米智能眼镜携手蚂蚁集团 上线停车缴费与AI健康管理两大核心功能
AI妹 2 个月前 25 0

2026年1月28日,小米与蚂蚁集团达成深度合作,正式在小米智能眼镜上线“停车缴费”与“AI健康管理”两大核心功能。这一更新标志着智能眼镜从单纯的“信息提示器”向“全能个人助手”迈出了重要一步。

小米蚂蚁携手GPASS 智能眼镜上线停车缴费与AI健康管理服务
AI妹 2 个月前 25 0

近日,小米与蚂蚁集团合作,基于蚂蚁自研的全球首个智能终端可信连接技术框架——GPASS,在小米智能眼镜上推出两项创新服务:停车缴费与AI健康管理。这标志着GPASS技术正进入多场景的日常生活,为用

小米MiMo-V2-Flash API上线充值功能 付费模式将启且设免费额度
AI妹 2 个月前 14 0

近日,小米官方宣布其开源大模型 MiMo-V2-Flash API 正式上线充值功能,标志着其即将开启的付费模式。这一消息引发了科技界的广泛关注。尽管如此,小米也为所有用户准备了专属的免费额度,用

蚂蚁集团全模态AI助手“灵光”鸿蒙版已登陆AppGallery特色功能获用户好评
AI妹 2 个月前 22 0

1月20日消息,蚂蚁集团打造的全模态AI助手 “灵光”鸿蒙版已登陆AppGallery。灵光App鸿蒙版集对话、AIGC内容创作、闪应用等于一体,为3200万鸿蒙用户带来前沿的多模态AI体验。

京东京造自研AI玩具第二批上线 覆盖全年龄段开启家庭陪伴新篇
AI妹 2 个月前 12 0

当AI不再只是手机里的语音助手,而是化身为会讲方言的智能鹦鹉、懂情绪的桌面玩伴,甚至能紧急呼救的健康守护者,人工智能正以最柔软的方式融入家庭生活的每个角落。京东京造近日宣布其自研AI玩具第二批产品

瑞声科技扩产手机超薄VC均热板 力争AI散热龙头布局新兴领域
AI妹 3 个月前 10 0

近日,瑞声科技宣布将在 2026 年新增 1.5 亿片手机超薄 VC 均热板的生产能力,这一消息引发了行业的广泛关注。据常州市的相关项目公示,瑞声科技的扩产计划旨在满足日益增长的市场需求,尤其是在

AI眼镜纳入国家消费补贴试点 推动可穿戴设备产业进入新发展阶段
AI妹 3 个月前 15 0

近日,国家工业和信息化部联合财政部发布《关于将人工智能可穿戴设备纳入消费补贴试点的通知》,正式将AI眼镜纳入国家消费补贴范围。这是我国首次将AI眼镜这类前沿智能硬件纳入国家级补贴体系,标志着可穿戴

小米自研MiMo-V2-Flash大模型公测限免延长20天 国内外定价策略公布
AI妹 3 个月前 18 0

在人工智能领域持续发力的小米,近日宣布自研大模型 MiMo-V2-Flash 的公测限免期将延长20天。这一决策于12月31日正式公布,原定于2025年12月底结束的免费试用期,现将延至2026年

国产大模型领军企业MiniMax提交港股IPO申请拟募资超41亿港元
AI妹 3 个月前 92 0

国产大模型领军企业MiniMax正式开启资本市场征程。公司于12月30日向港交所提交全球发售公告,宣布拟全球发行25,389,220股H股,其中香港公开发售1,269,480股,国际配售24,11